紅外感應透鏡感應方式及應用
【摘要】:
紅外透鏡感應方式靜態情況下,空間存在紅外光線,由於雙元式探頭採用互補技術,不會產生電信號輸出。動態情況下,人體經過傳感器先後被A元或被B元感應,Sa<Sb或Sa>Sb產生差值,雙元失去互補平衡作用而很敏感地產生信號輸出。人對著探頭呈垂直狀態運動,Sa=Sb不產生差值、雙元很難產生信號輸出。因此,探測器安裝的位置與人行走方向呈平行為宜。根據以上原理探頭與鏡片結合可以做成以下感應方式的人體探測
紅外透鏡感應方式
靜態情況下,空間存在紅外光線,由於雙元式探頭採用互補技術,不會產生電信號輸出。動態情況下,人體經過傳感器先後被 A 元或被 B 元感應,Sa<Sb 或 Sa>Sb 產生差值,雙元失去互補平衡作用而很敏感地產生信號輸出,見圖3。人對著探頭呈垂直狀態運動,Sa=Sb 不產生差值、雙元很難產生信號輸出。因此,探測器安裝的位置與人行走方向呈平行為宜。根據以上原理探頭與鏡片結合可以做成以下感應方式的人體探測器。
1.單區多段水平式和單區多段垂直式
圖1 是單區多段水平式,感應角度大,這是探頭水平視場角度大的緣故,形成一個長方形扇面感應區,單區多段水平式亦稱水平幕簾式感應,此感應方式能避開上下紅外線乾擾。圖2 是單區多段垂直式,感應角度小,這是探頭垂直視場角度小的緣故,形成一個垂直形扇面感應區,單區多段垂直式亦稱垂直幕簾式感應,此感應方式能避開左右紅外線干擾。圖 3探頭與鏡片配合不符合 Sa<Sb 或 Sa>Sb 產生差值的要求,因此感應不靈敏。採用雙區同心圓相近的鏡片也能達到幕簾式感應效果。單區多段和雙區多段多用於局部區域感應。

多區多段感應式和多區多段圓錐體式
圖 4 是多區多段感應式探頭與鏡片對應位置和探測效果圖。多區多段感應式多用於壁掛式安裝,傾斜向下探測三個不同的區域。圖5是多區多段圓錐體感應式,多用於吸頂式安裝,直接向下探測。採用雙元探頭配用圓形鏡片感應,方向圖不似圓錐體,因為探頭水平視角大於垂直視角而且出現 Sa=Sb 的現象,圓錐體效果圖會中間凹陷。如果圓形鏡片配用四源探頭,感應方向圖更趨似圓錐體,見圖 5 探測效果圖。多區多段感應式和多區多段圓錐體式感應區域寬廣,多用於大面積探測。
傳感器與鏡片配合如果不符合要求,會出現不感應現象。圖 6 左中鏡片上下放反,圖 6 右中探頭設置在鏡片中間,均無遠距離感應效果,下盲區加大,出現不感應現象。

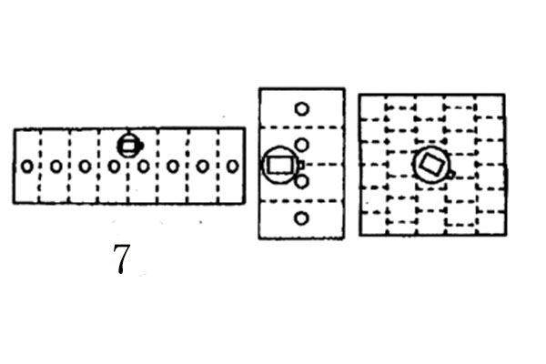
另類探測效果的方法
傳感器與鏡片偏離,可以產生不同的探測方向和效果。傳感器偏上,探測方向向下,見圖 7左。同理,傳感器偏下,探測方向向上。傳感器偏左,探測方向向右,見圖 7 中。同理,傳感器偏右,探測方向向左。傳感器偏 45°,降低人體活動受方向的限制,見圖 7右。傳感器偏 45°且稍微傾斜,適宜探測狹長區域。
